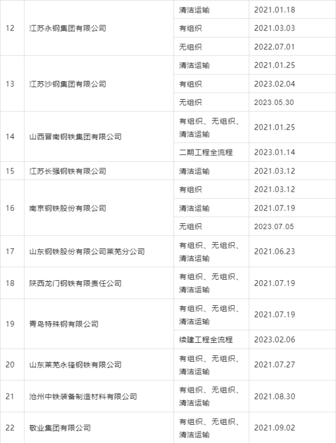
自2020年8月起,中国钢铁工业协会开展了钢铁企业超低排放改造和评估监测进展情况公示工作。从中国钢铁工业协会网站获悉,截至2023年7月11日,已有91家企业在钢协网站进行公示。

已公示企业名单及公示内容整理如下——







已公示超低排放改造钢企增至91家
2023-07-12 10:12:00








来源:中国钢铁工业协会
编辑:张雨恬
地址:北京市朝阳区安贞里三区26楼 邮编:100029 电话:(010)64442120/(010)64442123 传真:(010)64411645 电子邮箱:csteelnews@126.com
中国冶金报/中国钢铁新闻网法律顾问:大成律师事务所 杨贵生律师 电话:010-58137252 13501065895 Email:guisheng.yang@dentons.cn
中国钢铁新闻网版权所有,未经书面授权禁止使用 京ICP备07016269号 京公网安备11010502033228